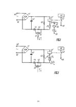
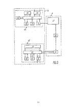
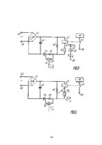
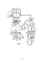
-
Mechatronische Systeme in der Landwirtschaft
Э-книга184
Комплект работ:
ВЫГОДНО купить комплект ➞ экономия −4,77 €
-
Mechatronische Systeme in der Landwirtschaft
Э-книга184
- Mežsaimniecības nozare
- Pieteikums Lauku atīstības plāna pasākumam
Комплект работ Nr. 1409041


